Header Ads

  • Breaking News

    PS5: patent indicates support for backward compatibility on future Sony console

    The lack of backward compatibility on the PlayStation 4 may not be repeated in the next generation of the Sony console. A patent recently filed by the Japanese manufacturer indicates that old titles may run on the brand's future video game, with improvements in image quality.
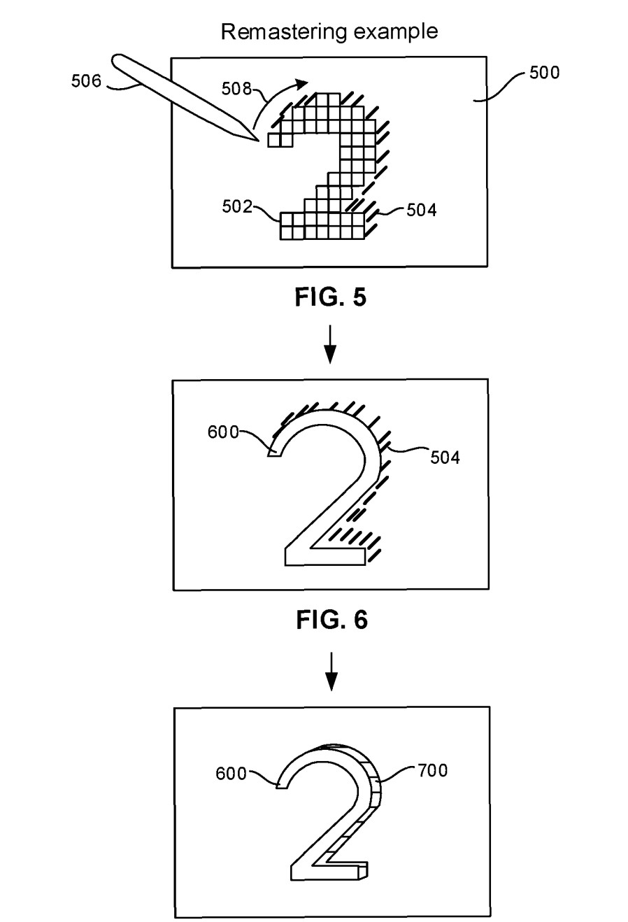
    The so-called "backward compatibility by emulation" proposed in the document consists of a kind of remastering of textures by current adaptations, which would allow the graphic enhancements. Check the following image:

    Patent Indicates Retrocompatibility for the Future PlayStation 5 / Image: Playback

    "An artist remasters the textures for presentation on a higher-resolution display than planned in the original software, and stores them in the data structure with their identifiers."

    Patent Document
    The record still presents an idea of ​​improvement in the audio of the old games. Sound change would be applied in the same way as improved textures. See the photo below:

    Image: Reproduction
    Despite proposing significant changes in the games to run on the future PlayStation 5, the patent does not indicate which titles would be compatible with this remastering or if other consoles, such as the PlayStation 4, would also gain the feature in the future.
    It is worth remembering that analysts do not consider a possible PS5 release before the fall of 2020 . In this way, the deadline for the cycle of each generation of video games, as has traditionally happened so far, would be met.

    No comments

    Post Top Ad

    ad728

    Post Bottom Ad

    ad728